CES - Concrete Equipment Supply, LLC
Facebook
Linkedin
0
email us
Contact us: 800-680-5604
Equipment
Concrete Batch Plants
ALL-PRO SERIES
LO-PRO SERIES
SLP SERIES CENTRAL MIX
BATCHMASTER SERIES
454/448 PLANT
REXCON MOBILE 12 SE CM
REXCON REXBATCH 150
REXCON MODEL S
REXCON MOBILE 5 CM
BMH CUSTOM SERIES
Concrete Batch Plant Mixers
Tilt Mixers
Twin Shaft Mixer
Horizontal Reversing Mixer (HRM)
Pan Mixers
Concrete Batch Plant Components
Batcher Vents
Silo Collectors
Truck Collector
Central Collectors
Material Handling Systems
Cement & Aggregate Bins
Conveyors
Aggregate Conveyors
Air Down Systems
Display
Valves
Wheel End Valves
Cameras
Complete Systems
Parts
Download Parts Catalog
CON-E-CO
REXCON
Parts
Auto Lube Systems
Boots
Charge and Discharge Cones
Charge Chutes
Consumables
Drive Components
Electrical
Rollers
Hydraulic Power Units
Load Cells
Pneumatics Air Treatment
Pneumatics Cylinders
Pneumatics Solenoid Valves
Pneumatics Compressors
Gate Valves and Actuators
Indicators (Silo/Bim)
Silo Components
Cement Conveyors
Aggregate Conveyors
Converyor Belt Wipers
Conveyor Accessories
Aggregate Gates
Power Transmission
Pulleys
Hoppers
Vibrators
Turnheads
Tilt Mixers
HRM
Water Systems / Water Meter
Weigh Systems
OSHA
Parts
Auto Lube Systems
Boots
Gum Rubber Pre-Cut Length 3/8 " Wall, Vulcanized Seams
Gum Rubber Tapered Pre-Cut Lengths 3/8"
Gum Rubber Bulk Material 1/4" Wall
Straight Vinyl Shrouds
Tapered Vinyl Shrouds
Canvas Boot (Tapered)
Elephant Trunk Pre-Cut Lengths
Elephant Trunk Bulk Material
Rolled Rod-Galvanized Clamps
Rolled Flat Bar Clamps
Hose Clamps
Charge and Discharge Cones
Charge Chutes
Consumables
Blades and Blade-Liner Kits
High Speed Blades
Polyurethane Blade Liners
Rex Tilt Mixer Poly Liners
Plant Component Liners
Drive Components
Electrical
Normally Open Proximity Switch
Normally Closed Proximity Switch
Proximity Switch Bracket for 10” Actuator
Proximity Switch Conduit Adaptor
Pointer
Proximity Switch Bracket
Omron® Limit Switch
Limit Switch, Double Pole
Limit Switch Arm
Bray® Limit Switch
Mtg Kit, Bray® Limit Switch
Limit Switch Bracket
Limit Switch Bracket
Reed Switch
Relay
Relay Base
Timer
Timer Base
Transformer
Control Cables Sold Per Foot
Control Cables Pre-Cut Lengths with End
NEMA Contactors (Square D®)
NEMA Contactors (Square D®) - Thermal Overloads
IEC® Contactors
IEC® Auxiliaries
IEC® Motor Protectors
Variable Frequency Drive
Starter Variable Speed
Variable Speed Retro Assembly
Line Conditioners
Mount-On Buss Breaker (Square D®)
Bolt-On Panel Breaker (Square D®)
230/460 Volt Motors
575 Volt Motors
Lamps
Lights
Warning Horn
Rotary Selector Switches
2-Position Key Switch (Cutler-Hammer®)
Pilot Light Module - Lens
Pilot Light Module - LED Exterior Mount
Pilot Light Module - Lens
Pilot Light Module - Light Bulb
Remote Control Systems - Control Chief®
Remote Control Systems - Tele-Radio®
Remote Control Systems - Tele-Radio® 8 Function
Remote Control Systems - NBB®
Junction Boxes
Relays
Buttons
Switches
Indicators
Miscellaneous
Rollers
Hydraulic Power Units
Load Cells
Pneumatics Air Treatment
Camozzi® Filter with auto drain
Camozzi ® Coalescing Filter w/auto drain
Wilkerson ® Coalescing Filter
Watts ® Air Filter, 1/2”
Camozzi ® Regulator
Wilkerson® Regulator
Watts ® Regulator with Filter
Camozzi ® Lubricator
Wilkerson ® Lubricator
Watts ® Lubricator
Tsunami ® Water Separator
Air Fittings
Union Fitting
Air Lines
Master Shut Off Valve - Pull
1/2" Lockout Valve
3/4" Safety Shut Off Valve
Valve- Shut Off, Master, Pull
Pneumatics Cylinders
Springville ® Air Cylinder-I250
Springville ® Air Cylinder-I300
Springville ® Air Cylinder-I350
Springville ® Air Cylinder-I450
Springville ® Air Cylinders with Reed Switch
Springville ® Reed Switch
McNeilus/Batchmaster Cylinder
McNeilus/Batchmaster Cylinder Dust Hood (Tele Boot)
McNeilus/Batchmaster Air Cylinder (Drive-Thru Dust Hood)
McNeilus/Batchmaster Cylinder (Single Yoke)
McNeilus/Batchmaster Std 5” Clevis Pin
Advanced Automation ® Air Cylinder - 490
Advanced Automation ® Air Cylinder - 700 (3" Diameter)
Advanced Automation ® Air Cylinder - 960 (3-1/2" Diameter)
Advanced Automation ® Air Cylinder - 1600 (4-1/2" Diameter)
Deltron® Quick Exhaust Valves
1/2" Quick Exhaust Valve
Pneumatics Solenoid Valves
MAC® Solenoid Valves 93 Series Single Valve without Base
MAC® Solenoid Valves 93 Series Single, Stand-Alone Base
MAC® Solenoid Valves 93 Series Single Valve with Individual Manifold Base
MAC® Solenoid Valves 93 Series Double Valve without Base
MAC® Solenoid Valves 93 Series Double Valve with Stand-Alone Base
MAC® Solenoid Valves 93 Series Double Valve with Manifold Base
MAC® Regulators
MAC® Solenoid Valves 63 Series Single Valve without Base
MAC® Solenoid Valves 63 Series Single Solenoid with Manifold
MAC® Solenoid Valves 63 Series Single Valve with Individual Base
MAC® Solenoid Valves 63 Series Double Valve without Base
MAC® Solenoid Valves 63 Series Double Solenoid with Manifold
MAC® Solenoid Valves 63 Series Double Valve with Individual Base
MAC® Solenoid Valves 63 Series Single Solenoid 1/4” NPT with Flow Controls
AAA® Single Solenoid S030-L 3/8”
AAA® Single Solenoid S040-L 1/2”
AAA® Double Solenoid SY30-L 3/8”
AAA® Double Solenoid SY40-L 1/2”
AAA® Valve Air Coil
Schrader Bellows ® Single 1/2" Solenoid Valve
Schrader Bellows ® Double 1/2" Solenoid Valve
Parker® Air Skinner
MAC® 55 Series Single Solenoid
MAC® 55 Series Filter Valve Assembly for Pinch Valve
Pilot Valve
Exhaust Muffler
Flow Control
Inline Flow Control
Flow Control Valve
ASCO Solenoid Valve 120V AC Brass Solenoid Valve, Normally Closed, 3/4 in Pipe Size
Pneumatics Compressors
Quincy Air Compressor
Ingersoll Rand Air Compressors
Ingersoll-Rand ® Compressor Filter
Ingersoll-Rand ® Compressor Auto Drain
Ingersoll-Rand ® Compressor Pressure Switch
Ingersoll-Rand ® Compressor Auxiliary Valve
Ingersoll-Rand ® IR T30 Select Oil
Ingersoll-Rand ® Desiccant Dryer
Champion ® Compressor
Champion® Filter 10 or 15 HP
Champion® Filter 25HP
Schultz® Filter
Atlas Copco® Filter
Atlas Copco® Filter-Pre Atlas®/Donaldson
Atlas Copco® Filter P18
Gate Valves and Actuators
Bray Standard Valves
Bray Lugged Valve
Bray Butterfly Valve, Slide Gate, Cylinder & Arms
Bray Butterfly Valve, Cylinder & Arms
Bray Cylinder Arms 6"
Bray Cylinder Arms 10" Hvy Duty (3/4" Clevis End)
Bray® Cylinder Arms 12” Heavy Duty (3/4” Clevis End)
Bray® Butterfly & Actuator Standard Valves
Bray® Butterfly & Actuator Lugged Valves
Bray® Butterfly, Actuator, & Solenoid Valve
Bray Actuator
Bray® Versa® Solenoid Valve
Bray® Adapter Kits
Bray Actuator Repair Kit
Keystone® Valve
Keystone® Actuators & Solenoids
Keystone® Cylinder Arms 6"
Keystone® Cylinder Arms 10” Standard (7/16” Clevis End)
Keystone® Cylinder Arms 10” Heavy Duty
Keystone® Cylinder Arms 12” Standard (7/16” Clevis End)
Keystone® Cylinder Arms 12” Heavy Duty (3/4” Clevis End)
Weco® Valves 2"-8"
Weco® Valves 10"-18"
Weco® Actuators
Weco® Actuators Repair Kit 2"-6"
Weco® Actuators Repair Kit 10"-18"
Centerline® Valves
Flange w/o Shroud Ring
Flange with Shroud Ring
Plain Valve Flange
Boot Flange
Emergency Slide Gate
Round to Square Transition Flange Weldment
Adaptor, Round to Sqaure, with Slide
Rotary Silo Valve
Indicators (Silo/Bim)
BinMaster® BMRX Series
BinMaster® GR Series
BinMaster® Rotary Indicator Accessories
BinMaster® ProCap II Capacitance Probe
BinMaster® Assemblies
Monitor®Rotary Paddle Bin Signal (Round Head)
Monitor® Indicator Paddle
Monitor® Spring Flex Coupler
Monitor® Indicator Motor
Monitor® Indicator Switch
Bindicator® Rotary Paddle Bin Signal (Square Head)
Bindicator® Indicator Paddle Bayonet
Bindicator® Motor
BinMaster® Smart Bobs
Silo Components
Silo Aeration Air Pad
Silo Aeration Diffuser Bushing
Silo Aeration Airbrator
Silo Aeration Fluidization Nozzles
Silo Aeration 8-Hole Manifold
Rubber Wire Wound Hose - Silo Aeration
Fuji® Blowers - Silo Aeration
Tuthill® Blowers - Silo Aeration
Rotron® Blower Components - Silo Aeration
Manhole Cover w/ PR Valve
Manhole Cover
7” Pressure Relief Valve
Pressure Relief Valve, Silo
Dust Cap - Fill Pipe Couplers
Threaded Coupling - Fill Pipe Couplers
Pinch Valve
Fill Pipes
Long Radius Elbow
Sweep Radius Elbow
Fill Pipe Tee Elbow
Threaded Pipe Flange
Flange
Cement Decal
Cement II Decal
Fly Ash Decal
Slag Decal
Cement Sign
Fly Ash Sign
Slag Sign
Recycle Sign
Mounting U-Bolts
Batchmaster Fill Pipe Connections
Material Handling Hose
Cement Conveyors
CON-E-CO® 9” Screw Conveyor
CON-E-CO® 12” Screw Conveyor
WAM® Feeder Screws
LO-PRO® Cement Batcher
LO-PRO® Cement Batcher Reducer Retrofit Kit
Screw Conveyor End Plate w/Bronze Bushing for Cement Batchers
Screw Conveyor End Plate w/Bronze Bushing for Feeder Screws
Screw Conveyor Gear Reducers
Screw Conveyor Gear Reducer Adaptors
Screw Conveyor Gear Reducer Shafts
Bearing-Auger Hanger
Air Slide Polyveyor Replacement
Aggregate Conveyors
Conveyor Belting
Pre-punched Conveyor Belts
LO-PRO® AGG Batcher Belts w/Vulcanized
Non-Hinged Fasteners
Templates
Tools
Hinger Fasteners
Screw Take-Up
3” x 3” Screw Take-Up
Tru-Trof® Return Idlers
Precision® Return Idlers
Superior® Return Idlers
Precision® Return Idlers - Training
Superior® Return Idlers - Training
Precision® Return Idlers - Guards
Rubber Return Idlers
Precision® Return Idlers Brackets
Superior® Return Idlers Brackets
Precision® Troughing Idlers
Superior® Troughing Idlers
Precision® Troughing Idlers - Training
Superior® Troughing Idlers - Training
Precision® Replacement Rollers
Superior® Replacement Rollers
Superior® Conveyor Belt Wipers
Superior® Conveyor Belt Wipers Replacement Blades
McNeilus® Conveyor Belt Wipers
McNeilus® Conveyor Belt Replacement Wipers
LO-PRO® Aggregate Batcher Seal
LO-PRO® Discharge Hood Seal
LO-PRO® Incline Seals
Skirtboard Rubber
Conveyor Side Skirting
Conveyor Rear Side Skirting
Conveyor Back Skirting
Conveyor Rear Skirting
Material Controls, Inc.® Safety Pull Switch
Telemecanique® Safety Pull Switch
Material On Belt Sensor
Converyor Belt Wipers
Conveyor Accessories
Aggregate Gates
Overbite Gate Assembly
Overbite Gate Parts
Overbite Gate Parts (Continued)
Double Clam Gates
Double Clam Gate Pin
Nylatron® Bushing
Batchmaster Gate Assembly
Batchmaster Gate Plate with Pins
Batchmaster Gate Plate without Pins
Batchmaster Gate Mount Pin
Batchmaster Gate Gear
Batchmaster Gate Connecting Lug
Batchmaster Gate Cylinder Lug
Batchmaster Aggregate Bin Gate Arm Mounting Plate
Aggregate Batcher Clam Bushing
Nylatron® Bushing
Aggregate Bin Gate Lug
Clam Gate Cylinder Mount
Bin Mount, Rear Cylinder
Aggregate Bin Side Panel Hinge
Remote Central Grease System
5/16” O.D. Grease Hose
1/4” Neptune® Hose
1/4” Nylaflow® Hose
Duff-Norton® Actuator
Custom Overbite Gate
Custom Double Clam Gates
In-Line Gate Assemblies - Batchmaster 3-Inline
In-Line Gate Assemblies - Batchmaster Long 3-Inline
In-Line Gate Assemblies - Batchmaster 4-Inline
In-Line Gate Assemblies - Batchmaster Long 4-Inline
Power Transmission
Pillow Block Type E Bearings
Pillow Block S-2000 Bearings
Pillow Block SC Bearings
Pillow Block SCM Bearings
Pillow Block VSC Bearings
Flanged SCM Bearing
Flanged Type E Bearings
Dodge® TA Series Gear Reducers
Backstops - Dodge® TA Series
Shaft Bushings - Dodge® TA Series
Dodge® TXT Series Gear Reducers
Backstops - Dodge® TXT Series
Shaft Bushings - Dodge® TXT Series
Dodge® MTA Series Gear Reducer
Adjustable Sheave
V-Belt
Companion Sheave
V-Belts - Drive Belts
1-Groove Pulley Sheaves
2-Groove Pulley Sheave
3-Groove Pulley Sheave
4-Groove Pulley Sheave
5-Groove Pulley Sheave
Sheave Bushings
Pulleys
Lagged-Head Drum Pulleys
Non-Lagged Drum Pulleys
Crown Wing Tail Pulleys
Snub Pulleys
Snub Pulleys with Bearings
Bearings - Snub Pulleys
Head Pulley Shafts
Tail Pulley Shafts
Hoppers
LO-PRO® Hoods
Linatex Liner and Clamp
Batchmaster Hoods Style C
Batchmaster Hoods Style D
Liners, 30” Rnd Disch. Cht Wldt (Style A &B)
Liners, 36” Rnd Disch. Cht Wldt (Style A &B)
Liners, 30” Rnd Disc Cht Wldt (Style C)
Liners, 36” Rnd Disc Cht Wldt (Style C)
Liners, 30” Rnd Disc Cht Wldt with Revised Belt Clnr Design (Style D)
Liners, 36” Rnd Disc Cht Wldt with Revised Belt Clnr Design (Style D)
Drop Chute Liner
Telescopic Boot
Telescopic Boot Wear Pads
Replacement Shroud Ring with Bars
Telescopic Boot Wear Pads
Vibrators
Cleveland® Pneumatic Piston
Oli Electric
VIBCO® Pneumatic Rotary
VIBCO® Electric Vibrator
Houston® Pneumatic Piston
Turnheads
CON-E-CO® Turnheads
McNeilus® 2001 - 2007 - Replacement Parts Only
McNeilus® Pre-2001 - Replacement Parts Only
Tilt Mixers
CON-E-CO® Liners and Seals - 12 yd
CON-E-CO® Paddles "A"
CON-E-CO® Liner (Large) "A"
CON-E-CO® Paddles "B"
CON-E-CO® Liner (Small) "B"
Replacement Hot Spot Liner
CON-E-CO® Rollers
Bogie® Roller
Bogie® Roller Replacement Parts
CON-E-CO® Thrust Rollers
Hydraulic Power Unit
Hydraulic Power Unit Components New Style - 2010 to Current
Hydraulic Power Unit Components Old Style - Up to 2010
Mixer Tilt Cylinders
Hydraulic Cylinder Pins
Pinion - Drive Components
Coupling Paraflex Flange - Drive Components
Rockford® Adaptor 12Yd Mixer
Zero Max® Adaptor 15Yd Mixer
Auburn® Reducer
75HP Motor
Discharge Cone
Slump Meters
Slump Meter Replacement Parts
Electrical Parts
Tilt Mixer VFD Retrofit
Automatic Oiler
Discharge Hopper
Mud Hopper Bottom
McNeilus® Liner Segments
McNeilus® Tilt Mixer Discharge Cone Wear Plate Liner
McNeilus® Tilt Mixer Belly Wear Plate Liner
McNeilus® Tilt Mixer Charge Cone Wear Plate Liner
McNeilus® Tilt Mixer Charging Seal
McNeilus® Tilt Mixer Charging Chute Lip Seal
McNeilus® Offset Dump Cone Liner
McNeilus® Offset Dump Cone Lip Liner
McNeilus® Tilt Mixer Dump Cone Lip Liner
McNeilus® Tilt Mixer Wet/Dry Dump Cone Liner
McNeilus® Tilt Mixer Standard Dump Cone Liner
McNeilus® Discharge Paddle Kit
McNeilus® Belly Paddle Kit
McNeilus® Rollers
McNeilus® Miscellaneous Power Unit
McNeilus® Miscellaneous Cylinder
HRM
HRM Liners and Seals
HRM Paddles
Tire Assembly
Thrust Roller
Auburn® Model 9 Reducer
Coupling Paraflex Flange
Bearing, 3-15/16" Imperial® 4-Bolt
Water Systems / Water Meter
Badger® Turbo
Badger® Turbo Meter Assemblies
Badger® Turbo Replacement Electrical Parts
Badger® Turbo Head Gasket
Badger® Turbo Gasket Tetreseal
Badger® Turbo Rotor and Spindle Kit
Badger® Mag
Badger® Mag Meter Assemblies
Badger® Mag Meter Scaler Boards
CON-E-CO® Model 515 & 515-PDC Water Meters
CON-E-CO® Model 515 & 515-PDC Water Meters Electrical Parts
CON-E-CO® Model 515 & 515-PDC Water Meters Electrical Parts
Pump, Water 3656-S 10 HP Gould®
Gaskets
Threaded Pipe Flange
Slip-On Weld Flange
Wire Wound Hose
Water Discharge Hose - Flat
Iron Body “Y” Strainer
PC100 Water Meter Panel
Float Switch
Warrick® Level Indicator
Weigh Systems
Load Cells
Shear Beam Load Cells
Digital Readout
Batchmaster Water Batcher Assembly
Batchmaster Cement Batcher Assembly
Batchmaster Aggregate Batcher Assembly
Load Cell Eyebolts
Cermanic Insulator
Rod End Bearing (Swivel Eyebolts)
Hitch Pins
Load Cell Cable
OSHA
Cages
Ladder
GlideLoc® Fall Arrest System
Projects
About
Careers
Contact
quote
0
Home
Parts
Tilt Mixers
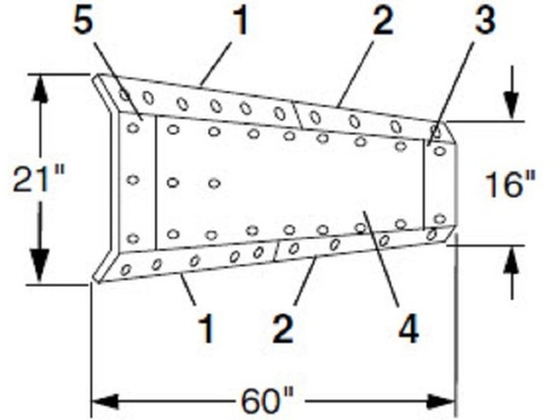
McNeilus® Discharge Paddle Kit
McNeilus® Discharge Paddle Kit
Part Options
1 12 Qty per kit 36” Paddle Edge Wear Plate 0116908 -
2 12 Qty per kit 24” Discharge Paddle Wear Plate 0116914 -
3 6 Qty per kit Discharge Paddle Small Side Wear Plate 0116911 -
4 6 Qty per kit Charge Paddle Center Wear Plate 0116909 -
5 6 Qty per kit Long Side Paddle Wear Plate 0116907 -
Get A Quote